I
DEAD

Serial Number

87267771

Owner

KIM, YONG CHONG

Attorney

JOHN PARK

First Use Date

Dec 1, 2016

Filing Date

Dec 14, 2016

Add to watchlist:

No watchlists yet
View on USPTO

I Trademark

Serial Number: 87267771

I is a trademark filed by KIM, YONG CHONG on December 14, 2016. The trademark is classified under Class 25 (Clothing). The application is currently no longer active.

Owner Contact Info

KIM, YONG CHONG (16 trademarks)

Los Angeles, CA 90019

Entity Type: 01

Trademark Details

Filing Date

December 14, 2016

Registration Date

Not Registered

First Use Anywhere

December 1, 2016

First Use in Commerce

December 1, 2016

Goods & Services

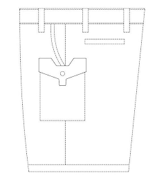
Jeans; Pants

Filing History

ABANDONMENT NOTICE MAILED - FAILURE TO RESPOND
Aug 21, 2017 MAB2
ABANDONMENT - FAILURE TO RESPOND OR LATE RESPONSE
Aug 21, 2017 ABN2
ASSIGNED TO EXAMINER
Aug 21, 2017 DOCK
NOTIFICATION OF NON-FINAL ACTION E-MAILED
Jan 19, 2017 GNRN
NON-FINAL ACTION E-MAILED
Jan 19, 2017 GNRT
NON-FINAL ACTION WRITTEN
Jan 19, 2017 CNRT
ASSIGNED TO EXAMINER
Jan 19, 2017 DOCK
TEAS AMENDMENT ENTERED BEFORE ATTORNEY ASSIGNED
Dec 20, 2016 TAEA
TEAS VOLUNTARY AMENDMENT RECEIVED
Dec 20, 2016 PARI
NOTICE OF DESIGN SEARCH CODE E-MAILED
Dec 20, 2016 MDSC
NEW APPLICATION OFFICE SUPPLIED DATA ENTERED
Dec 19, 2016 NWOS
NEW APPLICATION ENTERED
Dec 17, 2016 NWAP